Znak kolejowy W11a
Opis
Wskaźnik kolejowy W11a 400x1600 mm, folia I generacji + uchwyty w komplecie
Na odcinkach torów, gdzie widoczność semafora lub tarczy ostrzegawczej jest ograniczona, kluczowe jest wcześniejsze ostrzeżenie maszynisty. Wskaźniki W11a tworzą czytelny system stopniowego informowania o zbliżaniu się do miejsca wymagającego szczególnej uwagi.
Wskaźnik W11a służy do zwrócenia uwagi maszynisty na zbliżanie się do tarczy ostrzegawczej semafora wjazdowego lub odstępowego albo do semafora, którego sygnały mogą nie być widoczne w sposób ciągły z wymaganej odległości.
Stosowany jest w układzie kilku tablic ustawionych kolejno, co pozwala stopniowo przygotować maszynistę do zmiany sytuacji ruchowej.
Cena dotyczy jednej tablicy wskaźnika W11a. W zestawie znajdują się uchwyty montażowe.
Przy zamówieniu należy określić wariant tablicy (liczbę pasów).
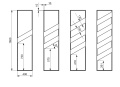
Wskaźnik występuje w kilku wariantach oznaczonych liczbą ukośnych pasów (od jednego do czterech), które określają kolejność ustawienia tablic przed semaforem lub tarczą ostrzegawczą.
| Wymiar | 400 × 1600 mm |
| Waga | 4,8 kg |
| Materiał | blacha stalowa 1,25 mm |
| Folia | odblaskowa I generacji |
| Konstrukcja | krawędzie zaginane |
| Mocowanie | uchwyty w komplecie |
Tablice wskaźnika W11a ustawia się kolejno przed semaforem lub tarczą ostrzegawczą. Pierwsza tablica (z największą liczbą pasów) znajduje się najdalej od urządzenia, a kolejne rozmieszczone są w równych odstępach aż do miejsca, w którym powinien być widoczny semafor.
- przed semaforami o ograniczonej widoczności,
- przed tarczami ostrzegawczymi,
- na liniach kolejowych o utrudnionych warunkach obserwacji sygnałów,
- na odcinkach wymagających wcześniejszego przygotowania maszynisty.
- czytelne stopniowe ostrzeganie,
- zgodność z zasadami oznakowania kolejowego,
- trwała konstrukcja stalowa,
- odporność na warunki atmosferyczne,
- łatwy montaż.
Do czego służy wskaźnik W11a?
Informuje maszynistę o zbliżaniu się do semafora lub tarczy ostrzegawczej.
Ile tablic stosuje się razem?
Zawsze kilka – od trzech do czterech, ustawionych kolejno.
Czy trzeba wybrać wariant przy zakupie?
Tak, należy wskazać liczbę pasów (1–4).
Czy uchwyty są w zestawie?
Tak, uchwyty montażowe są dołączone.
